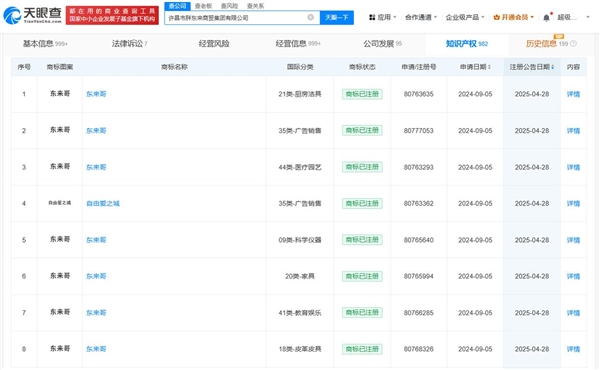
客畅网5月8日资讯,企业信息平台数据显示,知名零售企业胖东来近期完成多类别商标布局,包含"于东来""东来哥"等名称及"自由爱之城"系列标识,覆盖商业推广、文化娱乐等经营领域。


该企业创始人近期遭遇多重困扰,网络平台出现不实负面言论的同时,多地涌现出"胖都来"等仿冒商业体,甚至借助名人效应造势宣传。
商标监测系统还发现大量擦边注册行为,诸如"胖南来""胖西来"等地理方位变体,以及"胖冬来"等谐音商标均被多方抢注。
市场监管记录显示,全国多地存在"胖东莱"经营实体,涉及餐饮、零售等多个民生领域,包括板面店、生鲜超市等个体工商户。
这家区域零售龙头已形成全国性品牌效应,其服务质量获得消费者广泛认可,逐渐发展为具有示范效应的商业标杆。
专家指出此类仿冒行为引发连锁负面影响,既损害原创企业商誉,又导致消费者产生认知混淆,可能引发商品质量与品牌承诺不符的消费纠纷。
知识产权保护人士建议构建多方协作机制,企业需建立系统化商标防护网,执法机关应提升侵权查处效率,同时完善消费者权益保障通道,通过提高违法代价遏制仿冒乱象。
